平流式溶气气浮机涡凹气浮机一体化屠宰养殖场污水处理设备
用途: 溶气气浮机主要用于固液或液液分离。通过溶气和释放系统在水中产生大量的微细气泡,使其粘附于废水中密度与水接近的固体或液体微粒上,造成整体密度小于水的状态,并依
用途: 溶气气浮机主要用于固液或液液分离。通过溶气和释放系统在水中产生大量的微细气泡,使其粘附于废水中密度与水接近的固体或液体微粒上,造成整体密度小于水的状态,并依

用途:
溶气气浮机主要用于固—液或液—液分离。通过溶气和释放系统在水中产生大量的微细气泡,使其粘附于废水中密度与水接近的固体或液体微粒上,造成整体密度小于水的状态,并依靠浮力使其上升至水面,从而达到固—液或液—液分离的目的。在水处理领域气浮机应用于以下方面:去除各种工业和市政污水中的固体悬浮物、油脂及各种胶状物的设备。该设备广泛应用于炼油、化工、酿造、植物油生产与精炼、屠宰、电镀、印染等工业废水和市政污水的处理。
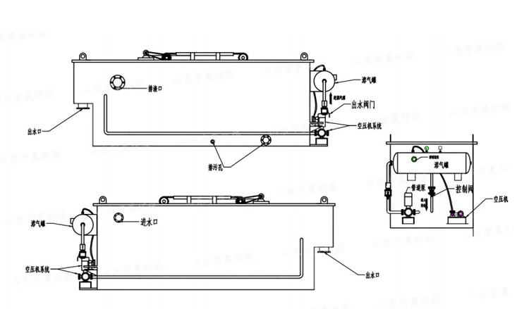
工作原理:
经加药反应后的污水进入气浮的混合区,与释放后的溶气水混合接触,使絮凝体粘附在细微气泡上,然后进入气浮区。絮凝体在气浮力的作用下浮向水面形成浮渣,下层的清水经集水器流至清水池后,一部分回流作溶气使用,剩余清水通过溢流口流出。气浮池水面上的浮渣积聚到一定厚度以后,由刮沫机刮入气浮机污泥池后排出。














安装、调试及注意事项:
(一)、安装
1、设备安装前,必须夯实地基。并用混凝土砂浆垫高 100-150mm。也可架空安装,但基础必须能承担设备运行时的重量。
2、设备就位后需调整水平。
3、设备需设清洗用下水道,可挖明渠,也可直接采用管道接至调节池,以便冲洗气浮池的水排出去。
4、污水入口与反应池之间的联接管道,要求越短越好,以免絮凝体在管道中被破坏。
5、清水出口可接通下水道排放,如需进入下道处理工序,可直接与下道处理设备相接。
6、设备调试前,应做好以下准备工作:
1、要清洗水池内所有的赃物、杂物。
2、对水泵及空压机等需要润滑部位进行加油润滑。
3、接通电源,启动水泵,检查转向是否与箭头所标方向一致。用手动控制启动空压机,检查空压机运转是否正常,发现异常情况应及时查清原因。
4、按下刮沫机开关,使其向溶气系统一端行走。运行到头后在行程撞块作用下,刮沫机反向行走,直到污泥槽,行程撞块将刮板翻起,按下停止按钮,停止刮沫。

(二)、试运行:
1、加水:使气浮机水位达到距污泥池隔板上沿约 20-50mm,气浮池水位的高低,可用集水器调节。
2、溶气系统运行:关闭所有控制阀,将电器旋钮开关旋至自动位置,启动水泵,此时空压机也进入自动工作状态,然后顺序打开举清水泵进水阀、出水阀、控制阀,压力表压力逐渐上升,一般应达到 0.4-0.5MPa。此时打开溶气罐出水控制阀门,使溶气水通过释放器,释放至气浮池内,气 浮池内出现大量的微细气泡,使清水变成乳白色,溶气系统即为正常,溶气压力越高,释放的溶气水泡密度越高。溶气系统的气体由空压机提供。由于溶气水不断将罐内空气带走,罐内空气逐渐减少,水位上升。当水位上升到一定位置时,浮球液位计将控制空压机工作,使罐内有足够的空气量。
3、气浮运行:溶气系统运行正常后,将加药反应后的污水送至气浮混合池。流量先小一些,正常后逐渐增至额定值。
4、溶气水:溶气水先用自来水作回流水,正常后,改用处理后的清水作回流水。如废水中洗涤剂量大,泡沫多,影响气浮效果,可一直用清水。
5、浮渣积聚到一定厚度后,启动刮沫机。
6、设备停机时,应先关闭污水控制阀,再关闭污水泵,将沫刮净,停刮沫机,然后打开清水阀,通入自来水运行 30 分钟,关闭溶气出水进水控制阀,之后停清水泵。
联系电话
微信扫一扫